Мы используем cookie для наилучшего представления нашего сайта. Подробнее об этом в Политике конфиденциальности.
Ок

Смоленск

Ваш город:
Смоленск (Смоленская область)?
Нет
Да
Каталог
Каталог Написать в WhatsApp
Мотоэкипировка

Система охлаждения КВАДРОЦИКЛА AODES (ODES) 800 ATV-L

Система охлаждения КВАДРОЦИКЛА AODES (ODES) 800 ATV-L в Смоленске: актуальный каталог, цены, фото, описание. Купите система охлаждения квадроцикла aodes (odes) 800 atv-l в кредит – оформите заявку онлайн за 1 минуту!

Оригинальные запчасти

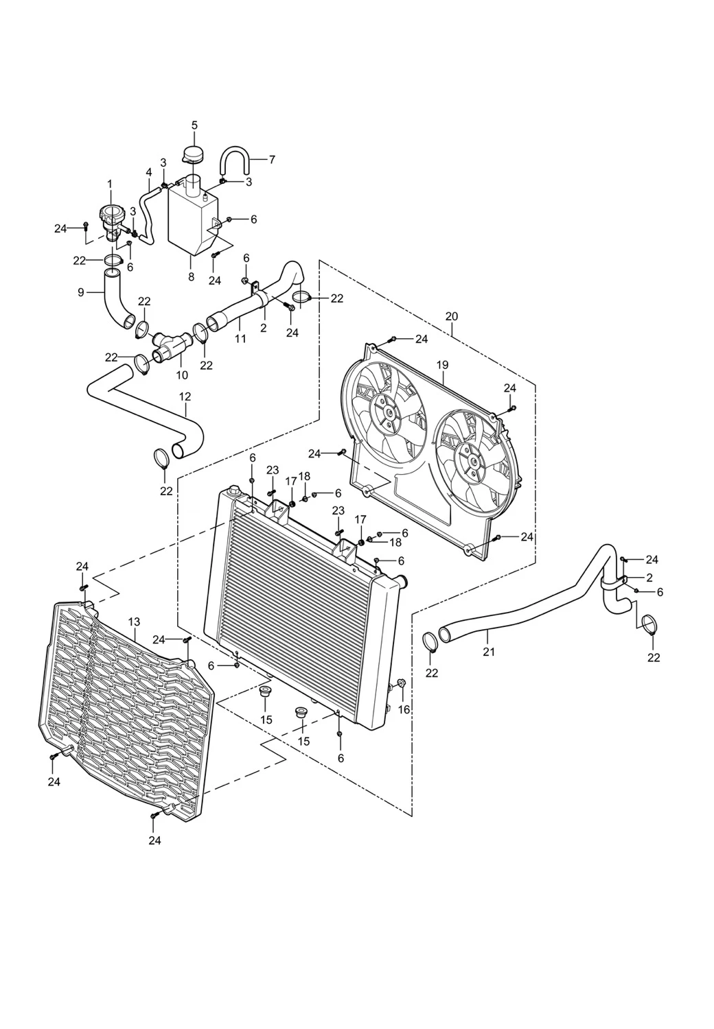
Артикул НАИМЕНОВАНИЕ Кол-во деталей в узле Примечание Наличие Цена Аналоги Фото
1 21040400913 Горловина системы охлаждения AODES (ODES)

Под заказ

1

Под заказ

уточнить

Купить
2 10109380030 Хомут поддерживающий Ф30 AODES (ODES)

Под заказ

2

Под заказ

уточнить

Купить
3 11904070040 Хомут обжимной Ф10 AODES (ODES)

Под заказ

3

Под заказ

уточнить

Купить
4 17012050080 Трубка жидкостная AODES (ODES)

Под заказ

1
86 мм.
86 мм.

Под заказ

уточнить

Купить
5 17012040030 Крышка расширительного бачка AODES (ODES)

Под заказ

1

Под заказ

уточнить

Купить
6 04612060025 Гайка шестигранная, с фланцем, самостопор. М6 AODES (ODES)

Под заказ

12

Под заказ

уточнить

Купить
7 17012050080 Трубка жидкостная AODES (ODES)

Под заказ

1
86 мм.
86 мм.

Под заказ

уточнить

Купить
8 13612040000 Бочок расширительный AODES (ODES)

Под заказ

1

Под заказ

уточнить

Купить
9 17012050050 Патрубок системы охлаждения (17012050050)

Под заказ

1

Под заказ

уточнить

Купить
10 17012050120 ? Штуцер трехсторонний (T) (система охлаждения) AODES (ODES)

Под заказ

1

Под заказ

уточнить

Купить
11 17012050010 Патрубок системы охлаждения Pathcross (17012050010)

Под заказ

1

Под заказ

уточнить

Купить
12 17012050000 Патрубок системы охлаждения Pathcross (17012050000)

Под заказ

1

Под заказ

уточнить

Купить
13 17012020000 Защита радиатора AODES PATCHCROSS 650S/650L/850S/850L/1000S/1000L

В наличии

1

В наличии

1 000

1 120

Купить
14 13612030030 Демпфер радиатора нижний AODES (ODES)

Под заказ

2

Под заказ

уточнить

Купить
15 21040402202 Датчик включения вентилятора охлаждения 82℃ (21040402202)

Под заказ

1

Под заказ

уточнить

2 680

Купить
16 17012030080 Демпфер радиатора верхний AODES (ODES)

Под заказ

2

Под заказ

уточнить

Купить
17 17012030090 Втулка дистанционная AODES (ODES)

Под заказ

2

Под заказ

уточнить

Купить
18 21040400933 Вентилятор радиатора системы охлаждения в сборе AODES (ODES)

Под заказ

1

Под заказ

уточнить

Купить
19 17012050020 Патрубок системы охлаждения AODES (ODES)

Под заказ

1

Под заказ

уточнить

Купить
20 17012070000 Хомут винтовой, Ф20-32 мм. AODES (ODES)

Под заказ

8

Под заказ

уточнить

Купить
21 01224060251 Болт с шестигранной головкой с фланцем М6*25 AODES (ODES)

Под заказ

2

Под заказ

уточнить

Купить
22 01224060165 Болт с шестигранной головкой с фланцем М6*16 AODES (ODES)

Под заказ

10

Под заказ

уточнить

Купить

Нулевая цена не означает отсутствие товара. Оформите заказ, и менеджер сообщит вам цену и наличие товара, предварительно запросив их у поставщика

Главная Магазины
Корзина0
Профиль